浙江地区为例,进行三网回程延时和去程测试,时间 GMT+8 2025.12.18 21:00-22:00
联通v4 回程mtr pro胜出
eb

pro

联通v6 回程mtr eb胜出
eb

pro

去程 pro 胜出
eb

pro

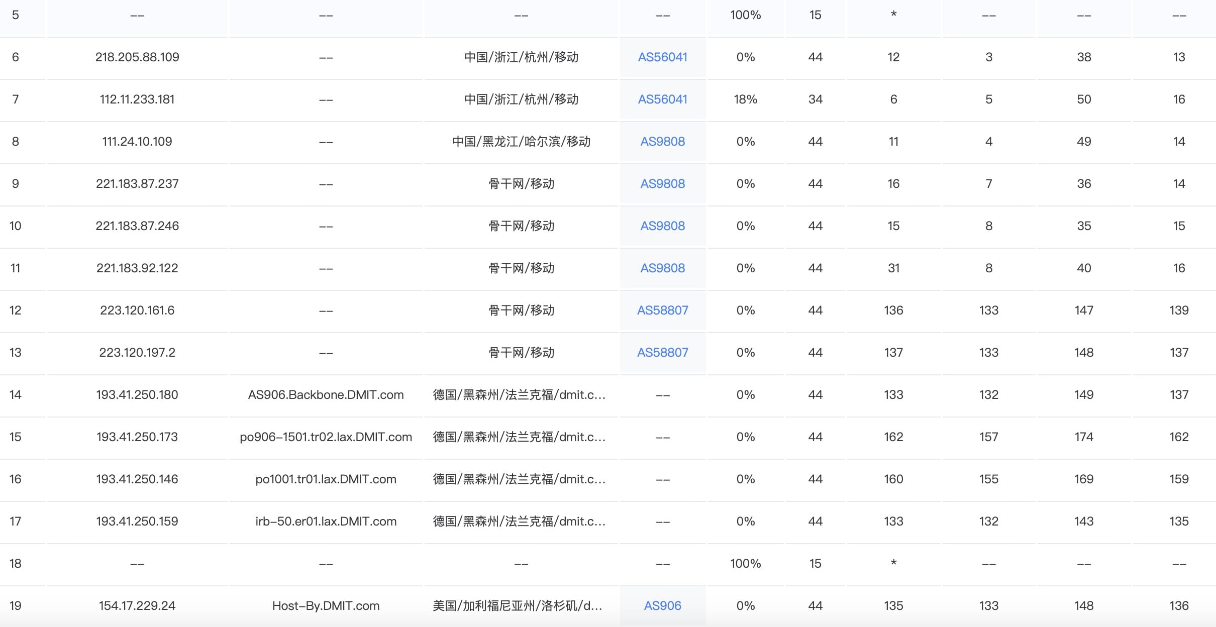
移动 v4
回程 mtr 平手
eb

pro

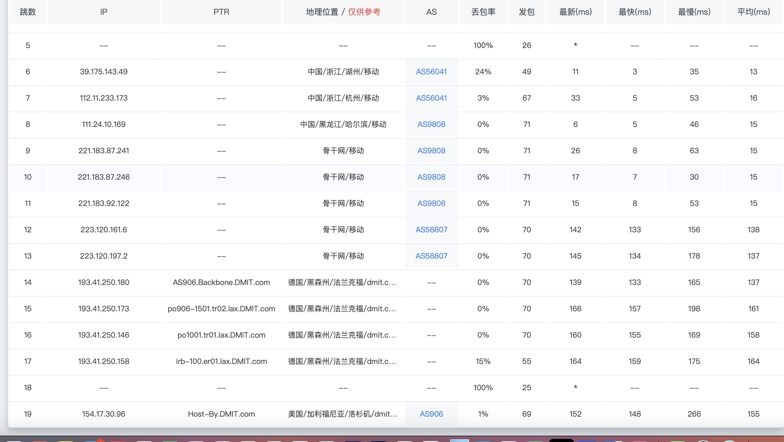
移动 v6
回程 mtr pro胜出
eb
没有
pro

去程v4 eb胜出
eb

pro

电信 v4
回程 mtr pro胜出
eb

pro

回程v6 mtr eb胜出
eb

pro

去程v4 pro胜出
eb

pro

v6 平手
都是菜鸡
总结
pro 5个胜出
eb 3个胜出
2个平手
电信,使用pro,来回使用pro v4
联通,使用pro
移动,使用eb,来回使用v4
乱测的 小白不懂 大佬指导一下 哪里错误 阿里嘎多
每个人不一样吧 看自己网络吧 这个是您的,我移动 Malibu比Wee好
有移动线但是主用电信
所以选择 pro malibu
适合自己的才是最好
所以联通选哪个